oppo折叠屏手机专利公布:提升信号辐射性能
OPPO广东移动通信有限公司一项关于“可折叠电子设备”的专利于2024年12月31日公布,申请公布号为CN119231165A。天眼查信息显示,该专利设计了一种新型可折叠电子设备,旨在提升特定频段的信号辐射性能。
☞☞☞AI 智能聊天, 问答助手, AI 智能搜索, 免费无限量使用 DeepSeek R1 模型☜☜☜

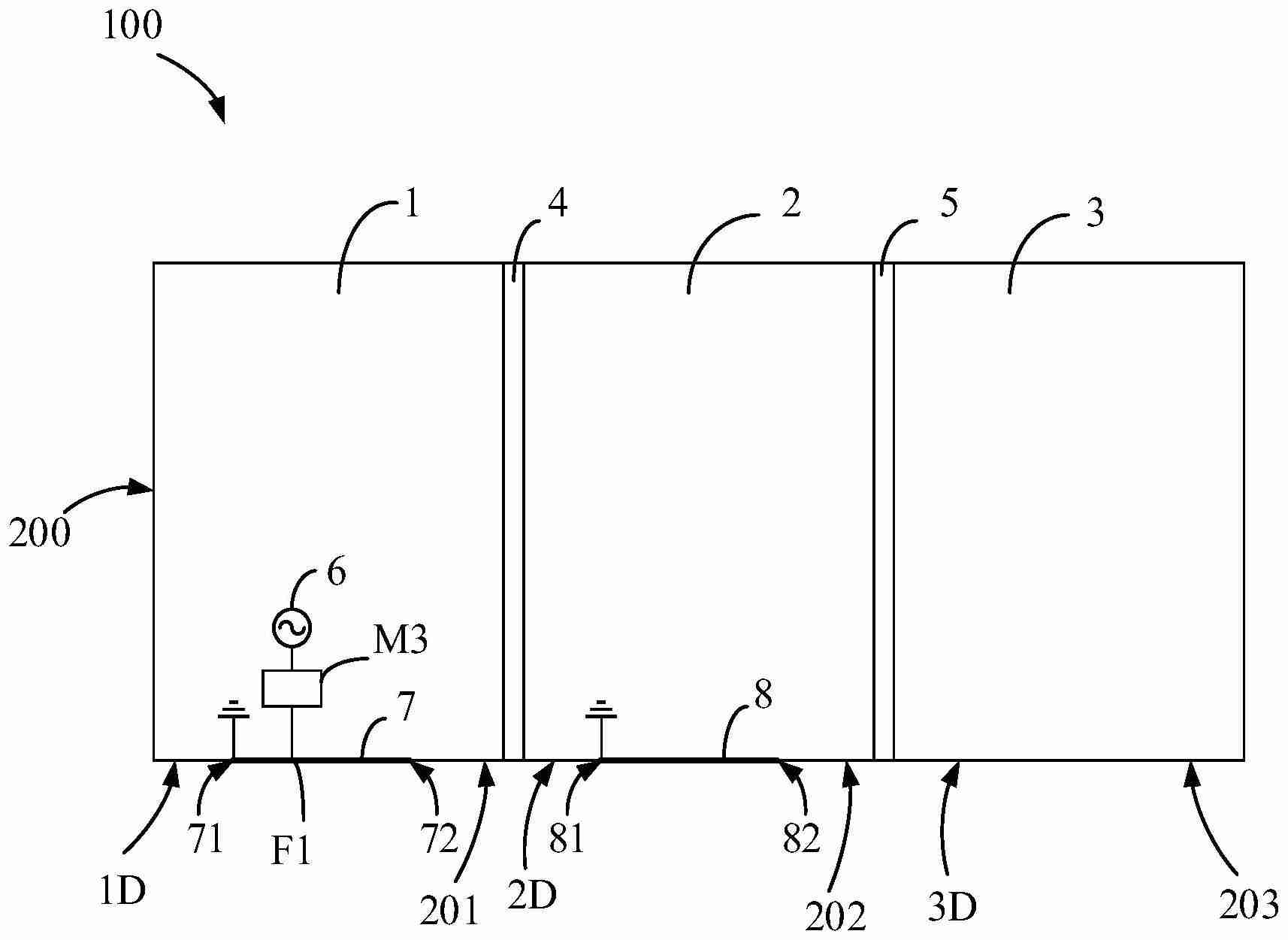
该专利设计包含三个主要部件(第一、第二、第三本体部),以及连接它们的两个转轴(第一、第二转轴)。 一个馈源和辐射枝节负责信号发射,并通过一个第一寄生枝节来增强特定频段的辐射性能。 当设备折叠时,三个部件相互靠近,寄生枝节与辐射枝节间的特殊布局,使得馈源能够有效激励寄生枝节,从而提升信号辐射效率。 这项专利技术有望显著改善可折叠电子设备的信号质量。
以上就是OPPO“可折叠电子设备”专利公布的详细内容,更多请关注php中文网其它相关文章!
每个人都需要一台速度更快、更稳定的 PC。随着时间的推移,垃圾文件、旧注册表数据和不必要的后台进程会占用资源并降低性能。幸运的是,许多工具可以让 Windows 保持平稳运行。
Copyright 2014-2025 https://www.php.cn/ All Rights Reserved | php.cn | 湘ICP备2023035733号