天马微电子新型专利公布:一种阵列基板和微流控装置
上海天马微电子有限公司近日公布一项名为“一种阵列基板和微流控装置”的新专利(申请公布号:CN119114174A,申请公布日:2024年12月13日)。
☞☞☞AI 智能聊天, 问答助手, AI 智能搜索, 免费无限量使用 DeepSeek R1 模型☜☜☜

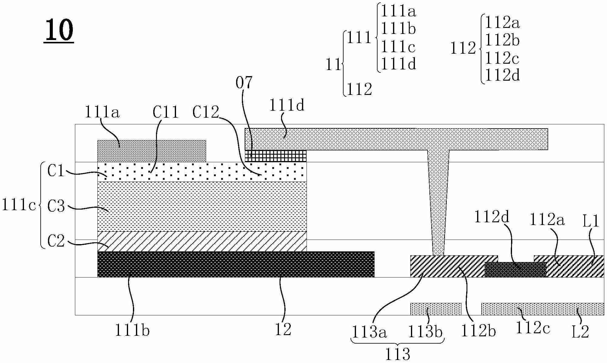
该专利设计了一种包含加热电路和加热电极的阵列基板,以及配套的微流控装置。其核心创新在于一种特殊的第一晶体管。该晶体管由第一电极、第二电极和半导体部分构成,半导体部分包含P型和N型半导体层。P型半导体层进一步分为与第一电极接触的第一部分和不与第一电极接触的第二部分。第二电极与N型半导体层接触,加热电极则与第一或第二电极电连接。此外,该晶体管还包含一个与第二部分重叠,并由绝缘层隔开的控制电极。
这种设计使得晶体管能够向加热电极输出低电压、高电流的电信号。这一特性能够在保证加热电极产生足够热量的同时,最大限度地减少其对基板上控制液滴移动过程的干扰,提升微流控装置的精准性和效率。
以上就是天马微电子“一种阵列基板和微流控装置”专利公布的详细内容,更多请关注php中文网其它相关文章!
每个人都需要一台速度更快、更稳定的 PC。随着时间的推移,垃圾文件、旧注册表数据和不必要的后台进程会占用资源并降低性能。幸运的是,许多工具可以让 Windows 保持平稳运行。
Copyright 2014-2025 https://www.php.cn/ All Rights Reserved | php.cn | 湘ICP备2023035733号