据最新消息,华为和北汽智选联手开发的一款样车已经问世。这款车型被定位为中大型纯电动轿车,并计划于2024年上半年正式发布。这个合作项目备受关注,人们对于华为进军汽车领域的表现充满期待。



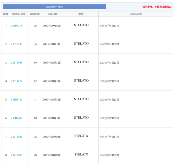
根据国家知识产权局商标局发布的第1865期商标公告,华为技术有限公司最近已经将多个"STELATO"商标转让给北汽新能源汽车股份有限公司,该转让申请已经获得批准。"STELATO"是华为与北汽智选品牌的英文名称,类似于之前的"问界"和"智界",同时还有对应的"AITO"和"LUXEED"。
根据知情人士透露,STELATO这个词在中文中的意思是“繁星、星空”。据了解,华为在今年7月7日向相关部门提交了该词的注册申请,并在7月21日收到了受理通知书。




华为技术有限公司最近申请了几个以“界”字结尾的商标,其中包括尊界、擎界和骋界。此外,还有一个名为“望舒”的商标,与运输工具相关。在中国神话故事中,望舒是一个指代月亮的女神,她被描绘为驾驶着月亮的车子。
华为之前曾申请了一系列以“界”字结尾的商标,包括问界、智界、勇界、慧界、筑界、傲界、知界和羿界等。华为的高管余承东在今年广州车展上透露,除了已经发布的问界和智界车型外,还将有两款新的“界”车型,分别由北汽和江淮推出。











