☞☞☞AI 智能聊天, 问答助手, AI 智能搜索, 免费无限量使用 DeepSeek R1 模型☜☜☜
法拉利汽车
近日,法拉利正式提交了一项创新的侧置排气系统专利,意在解决这一标志性设计长期面临的重量、空气动力学表现以及安全性能等瓶颈问题,暗示这一极具辨识度的经典元素或将重返未来车型。
侧排气管因其张扬而独特的视觉效果深受车迷喜爱,但在实际工程应用中却面临诸多挑战。传统布局往往导致整车增重、风阻上升,影响操控与效率,因而多数厂商选择放弃。不过,法拉利在最新公布的专利文档中指出,其全新设计已“有效克服了传统侧排结构的固有缺陷”,并具备“易于制造、成本可控”的优势。

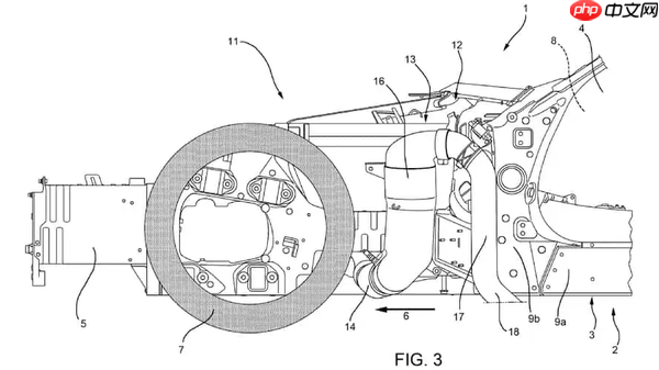
从专利图纸可见,该排气系统自前轮后方的发动机引出,沿车身侧面绕过关键部件,延伸至前车门下方,并最终在乘员舱后部完成排放。这种路径不仅优化了空间利用,更赋予其被动安全功能——在发生正面碰撞时,排气管道可作为能量吸收结构,协助减缓前轮侵入驾驶舱的风险,从而提升乘员保护能力。同时,由于排气管本身承担了一定的结构作用,无需额外加装复杂的支撑或缓冲机构,实现了整体轻量化目标。

这并非法拉利首次涉足侧排技术领域。早在2013年,品牌便曾为一种单侧布置的侧排气方案申请专利。而此次的新设计则回归更为经典且对称的双边布局,更具美学平衡与品牌传承意味。
据悉,法拉利将在未来五年内陆续推出多达20款新车型,涵盖多款稀有限量版本。公司CEO此前明确表示:“我们更倾向于打造更多限量车型,而非依赖少数车型的大规模生产。”这一战略也预示着品牌将继续强化其稀缺性与高端定位。









