有业内人士透露,目前苹果已经完成了对折叠屏 iphone 的研发工作,计划在 2026 年推出两款可折叠设备,分别为折叠屏 iphone 和折叠屏 ipad。

据 @新浪科技 此前报道," 苹果正在研发一款可折叠 iPhone,最早将于 2026 年发布。最近几个月,苹果已与亚洲的供应商接触,为该款手机制造零部件。
此前有传言称苹果将首先推出可折叠 iPad 以测试市场反应,积累销售经验,然后再将这项技术应用到主力产品 iPhone 上。然而,由于在中国智能手机市场面临挑战,苹果似乎调整了计划,可能将 iPhone 作为首款折叠屏产品推出。"

虽然我们暂时还不能确定苹果折叠屏 iPhone 的发布时间,不过我们可以从相关专利中获取一些信息。
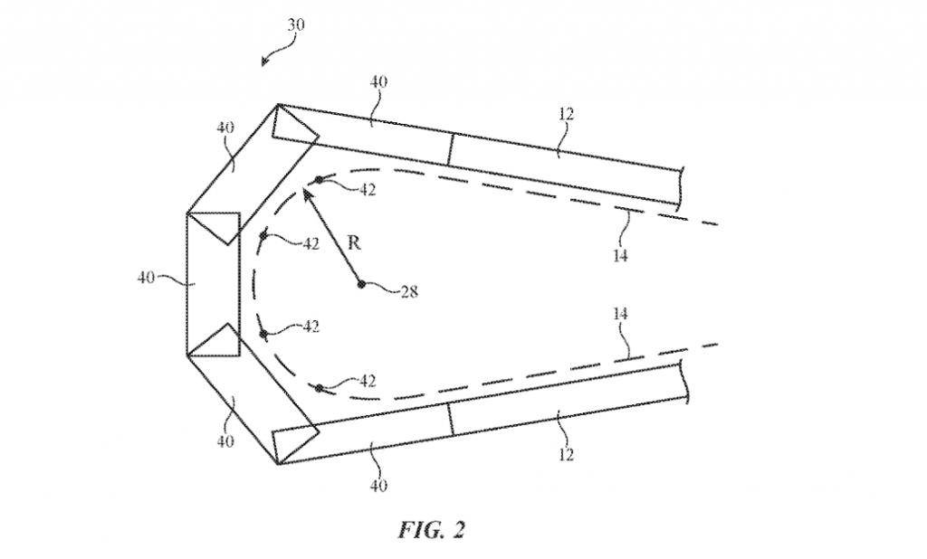
苹果公司在今年 5 月份的专利文件中,展示了一个内、外双向折叠的独特铰链设计。

从专利图中来看,它是通过多个铰链连接并耦合,铰链包含了一种齿轮机制,每个齿轮板都有开口,可以容纳并绕着特定的轴旋转,让铰链两侧的部分可以串联延伸。
要知道现在的折叠屏铰链,往往只能实现单一方向的折叠,如果苹果这项专利落实,那么未来 iphone 折叠屏将既可以横折也可以竖折,使用体验更丰富。

不过从专利中看,相邻铰链连杆的整体旋转量可能会受到限制,以当前手机行业的制造工艺来看,最大的难题就是保证铰链正常工作的同时,机身厚度也要做出相应改善。
而在另一份《具有耐用折叠显示屏的电子设备》的专利中,苹果重点阐述了如何提高折叠屏幕的耐用性。

专利中,苹果详细描述了如何通过在玻璃层中形成凹槽,使玻璃层在弯曲轴处形成一个柔性的局部变薄部分,从而提高折叠屏的耐用性。
按照苹果官方的说法,这种设计不仅能够使屏幕在折叠时更加顺畅,还能够在屏幕的某些部位增加厚度,以提高抗摔能力。
由此看来,苹果的这一创新方案,预计是为了应对 iphone 折叠屏在跌落过程中可能遇到的冲击,尤其是在边角部分。

而对于折叠屏手机最头痛的屏幕折痕问题,此前也有专利透露,基于在玻璃盖板上蚀刻细长凹槽,从而使该区域的玻璃变薄从而实现弯折。
专利图片中展示了一款可折叠设备,它既可以是手机和平板电脑,也可以是笔记本电脑等多种形态。

虽然苹果在折叠屏技术上的持续投入和创新,表现了其入局的决心。然而,折叠屏设备的重量、续航、应用适配和价格等,仍然是苹果后续需要解决的关键性问题。
未来苹果将会推出哪些折叠屏设备,大家可以保持关注。
Copyright 2014-2025 https://www.php.cn/ All Rights Reserved | php.cn | 湘ICP备2023035733号