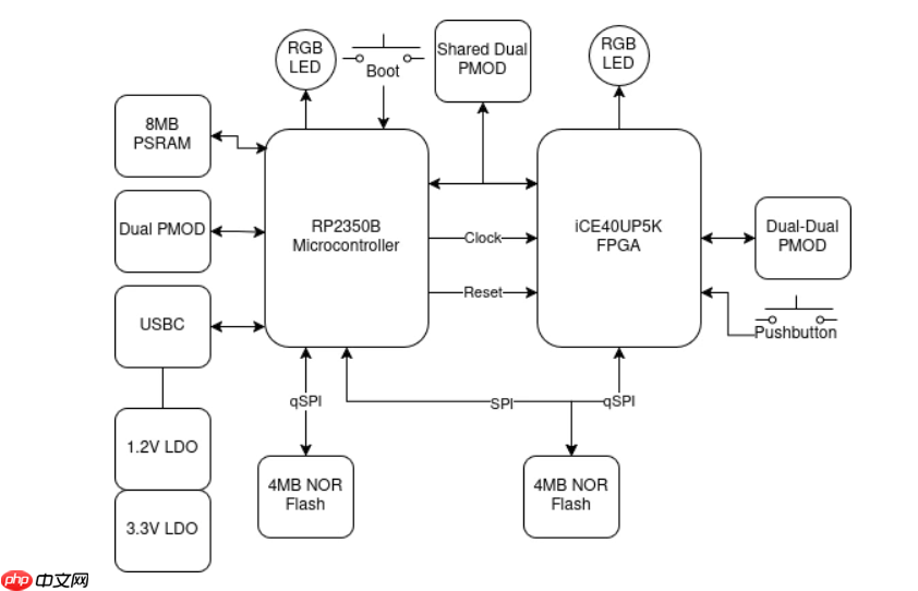
fpga 和 mcu 结合的开发板不多,而 pico2‑ice 则把小巧、灵活和易上手完美结合。搭载 rp2350 双核 risc-v mcu + lattice ice40up5k fpga,配合官方 sdk,你可以一步步跑通各种示例,从 led 到 vga,再到 mcu 与 fpga 协作应用。
下面就来详细看看 官方 SDK 的实际历程。

官方历程地址:
硬件开源地址(暂无Pico2):


克隆 SDK 仓库
<code class="javascript">git clone https://github.com/tinyvision-ai-inc/pico-ice-sdk.gitcd pico-ice-sdkgit submodule update --init</code>
选择目标板
官方 SDK 支持 pico_ice 和 pico2_ice,构建时通过 cmake 指定:
<code class="javascript">mkdir build && cd buildcmake -DPICO_BOARD=pico2_ice ..</code>
编译示例
<code class="javascript">make -j8</code>
生成 .uf2 文件后,直接拖入 Pico2-ICE 板子,即可烧录。
类比:就像拿到房子钥匙后,把家具和灯都搬进去。
进入 examples/led_blink,这是最基础的 FPGA 示例。
核心 Verilog:
<code class="javascript">module top( input clk, output reg led); reg [23:0] counter; always @(posedge clk) begin counter <= counter + 1; if(counter == 24'd0) led <= ~led; endendmodule</code>
操作历程:
编译生成 bitstream。
用 MicroPython 或 TinyUF2 拖拽烧写到 FPGA。
上板观察 LED 闪烁。
小结:让新手从零感受 FPGA 的硬件逻辑跑起来的过程。
进入 examples/pico_usb_uart:
历程步骤:
MCU 通过 USB‑CDC 接口收数据。
MCU 将数据通过 SPI 或内存共享传给 FPGA。
FPGA 将数据原样送回 MCU。
Python 演示代码:
<code class="javascript">import serialser = serial.Serial('COM3', 115200)ser.write(b"Hello Pico2-ICE")print(ser.read(16)) # 接收 FPGA 回传的数据</code>功能效果:发送一句话,立即被回显,验证 MCU ↔ FPGA 桥接逻辑。
在 examples/vga_colorbar:
历程步骤:
FPGA 生成行列计数信号。
根据计数输出 RGB 信号。
连接 VGA 显示器即可看到彩条画面。
简化 Verilog:
<code class="javascript">always @(posedge clk) begin if (hcount == HMAX) begin hcount <= 0; if(vcount == VMAX) vcount <= 0; else vcount <= vcount + 1; end else begin hcount <= hcount + 1; endend</code>
官方 SDK 提供 examples/micropython_fpga,使用 MicroPython 调用 ice 模块加载 bitstream:
<code class="javascript">from machine import Pinimport icefpga = ice.fpga(cdone=Pin(40), clock=Pin(21), creset=Pin(31), cram_cs=Pin(5), cram_mosi=Pin(4), cram_sck=Pin(6), frequency=48)with open("bitstream.bin", "br") as f: fpga.start() fpga.cram(f)</code>操作历程:
通过 Python 打开 bitstream。
FPGA 开始加载。
加载完成后可直接执行逻辑。
在 examples/pico_usb_spi,可以把 USB 数据通过 SPI 传给 FPGA 内部模块,支持 SRAM、Flash 操作。
历程步骤:
MCU 收到 USB 命令。
FPGA 接收 SPI 数据并写入内部 RAM。
MCU 读取结果,完成回传。
Pico2-ICE + 官方 SDK 的历程,提供了从 硬件跑灯 → MCU ↔ FPGA 通信 → 外设驱动 → MicroPython 控制 的完整体验。
新手可以从 LED 和串口回环入手,逐步尝试 VGA 彩条和 MicroPython 控制。老玩家则可以快速验证 FPGA + MCU 协作原型。
以上就是Pico2‑ICE FPGA 开发板:从开箱到跑通示例的全历程的详细内容,更多请关注php中文网其它相关文章!
每个人都需要一台速度更快、更稳定的 PC。随着时间的推移,垃圾文件、旧注册表数据和不必要的后台进程会占用资源并降低性能。幸运的是,许多工具可以让 Windows 保持平稳运行。
Copyright 2014-2025 https://www.php.cn/ All Rights Reserved | php.cn | 湘ICP备2023035733号